
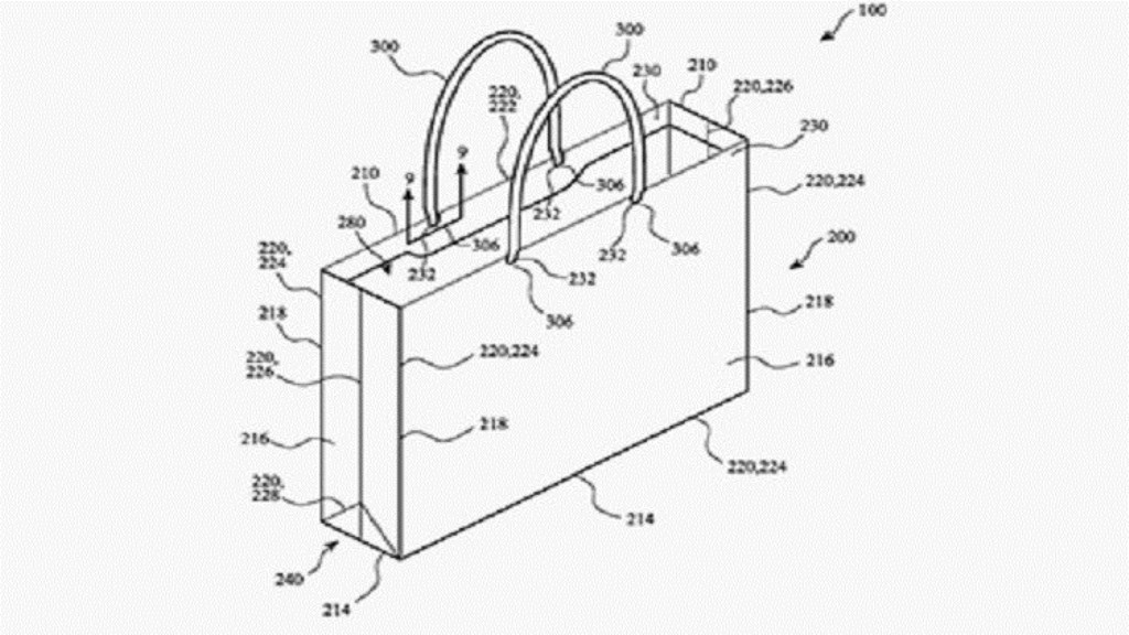
وكالات - الاقتصادي - عملت شركة "أبل" على اختراع نوع جديد من أكياس الورق، يتميز عن الأكياس المألوفة بقبضة مرنة. وقدمت شركة آبل طلب الحصول على براءة اختراعها هذا في مارس/آذار 2016، ولكنها لم تصبح متاحة للجمهور إلا الآن.
وأطلقت آبل على اختراعها الجديد مسمى "الحقيبة"، وبخلاف اختراعات آبل الأخرى فإن "الحقيبة" تفتقر إلى بعض ميزات الأجهزة ذات التقنية العالية مثل البطارية المدمجة والبلوتوث على سبيل المثال.
ويتكون هذا الكيس من الورق المصقول الصلب والذي يتكون من 60٪ على الأقل من المواد المعادة التصنيع.
ويؤكد القائمون على هذا الاختراع أن المواد الداخلة في تصنيع معظم أكياس الورق الحالية أقل من 50 % منها هو من المواد القابلة لإعادة التدوير، مما يعني أن أكياس آبل هي أكثر حفاظا على البيئة من غيرها بكثير.
وتتجه آبل في الفترة الأخيرة إلى تصنيع المواد المغلفة والأكياس الحاملة لمنتجاتها على أساس من الحرص على البيئة المحيطة.
المصدر: lenta.ru