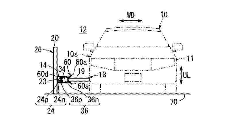
ؤكالات - الاقتصادي - بالرغم من التطور الهائل الذي تعيشه السيارات الكهربائية بإيجاد حلول جديدة بشكل دوري للوصول إلى حل جذري لمشكلة شحن السيارات الكهربائية وهي تسير، وبالرغم من تركيز شركات السيارات الكبرى على إيجاد وسيلة لشحن السيارة بشكل لاسلكي، قام مكتب براءات الإختراعات اليابانية بنشر وثيقة لهوندا وهي لذراع آلية تقوم بشحن السيارة وهي تسير على الطرق.
وبحسب الوثيقة، فإن جوانب الطرق ستكون مزوّدة بسكك حديدية تكون موصولة بمصدر طاقة كهربائي، ومن خلال طاقة الإحتكاك التي تصدرها الذراع خلال السير ستقوم بتوليد الطاقة من المصدر والسيارة تسير، بالرغم من أن فكرة مشاريع توليد الطاقة بشكل لاسلكي تبدو أجمل، إلا أن هذه الطريقة من هوندا ستكون أقل تكلفة على مصنعي السيارات وبالتالي على المستهلكين.
المصدر: سعودي شفت