أبل تسجل براءة اختراع لهاتف آيفون قابل للطي
10:45 صباحاً 06 تشرين الثاني 2016

أبل تسجل براءة اختراع لهاتف آيفون قابل للطي

رام الله - الاقتصادي - غيزمودو - مُنحت شركة أبل براءة اختراع جديدة كُشف عنها من قبل Patently Apple وتوضح خطط أبل في مجال إطلاق هاتف أيفون قابل للطي في المستقبل.

وبدأت شركة أبل في إجراء بحوث لتصميم هذه التكنولوجيا في عام 2013، وقدمت أبل طلبا للحصول على براءة الاختراع في 28 أغسطس/آب، ولكن مُنحت الآن براءة الاختراع بشكل رسمي.

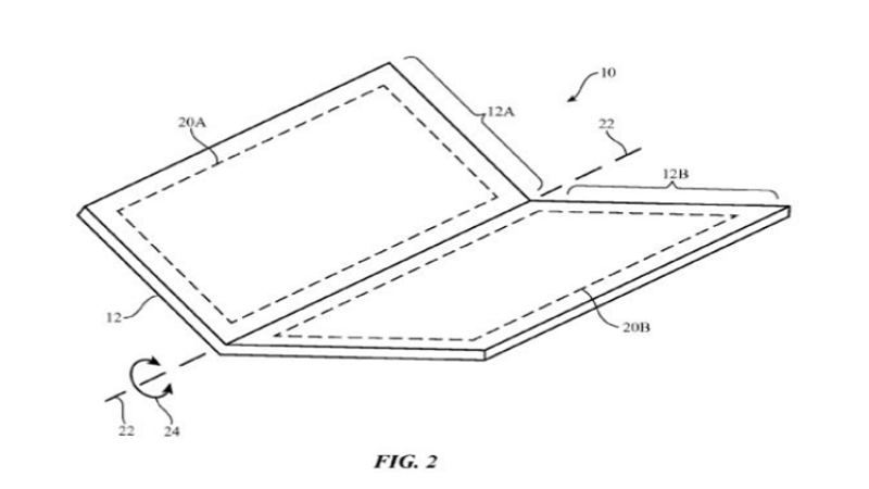
وكانت أبل قادرة على الحفاظ على أحدث براءات اختراع أيفون في طي الكتمان من خلال استخدام اسم مهندس في عملية الطلب، ولكن تستخدم البراءة بحد ذاتها اسم أيفون (بدلا من الإشارة إليها على أنها جهاز الكتروني عام) وتظهر عدة رسومات للتصميم الحالي الذي نعرفه جميعا.

ويتركز اهتمام براءة الاختراع على وصف المواد التي يمكن استخدامها في تصميم هاتف أيفون المستقبلي، حيث يمكن أن يكون مصنوعا من الزجاج والسيراميك والألياف والألمنيوم أو البلاستيك، لتكون غير مختلفة كثيرا عن المُستخدم حاليا. ولكن الميزة الأهم في براءة الاختراع هي إدخال "أنابيب الكربون النانوية" التي من شأنها جعل الهاتف قابلا للطي.

وتقول براءة الاختراع إن مسارات أنابيب الكربون تشكل مسارات الإشارات التي تتسم بالمرونة ومقاومة التشقق، ويمكن إدراج هياكل الأنابيب النانوية الكربونية في كابلات الإشارة مثل لوحات الدوائر المطبوعة وأجزاء من هياكل العرض ومن أجهزة الاستشعار باللمس، وكذلك هياكل الكاميرا وهياكل السكن وهياكل المكونات الكهربائية وجدران المنازل ومزيج من الهياكل الأخرى.

ويمكن أن يكون جهاز أيفون المستقبلي قابلا للانحناء وفقا لبراءة الاختراع، ويذكر أن سامسونغ، المنافس الرئيسي لأبل الساعية لامتلاك تكنولوجيا وتصاميم مماثلة، حصلت على براءة اختراع للكثير من تصاميم الهواتف القابلة للطي.

وليس من المتوقع مشاهدة أي هاتف أيفون قابل للطي في وقت قريب، فمن الضروري تذكر أن براءات الاختراع لا تتحول إلى منتجات في أغلب الأحيان وإن حدث الأمر فلن يكون عما قريب.

 

Loading...